Để nâng cao hiệu suất hoạt động cũng như thúc đẩy cung ứng ra thị trường, kho bảo quản cần được trang bị đầy đủ các thiết bị cần thiết. Dưới đây là một số thiết bị quan trọng trong kho bảo quản nông sản:
Chức năng
Khi hoạt động, quạt sẽ lưu chuyển không khí bên trong và bên ngoài, giúp thải luồng không khí tù đọng, ẩm mốc, hơi nước, hơi nóng bên trong ra ngoài. Và đưa luồng không khí tươi mát từ bên ngoài vào trong nhà. Thông thường, quạt thông gió được sử dụng tại những nơi mà không khí không thể tự lưu chuyển.
Cấu tạo
Thiết bị thông gió bao gồm:
Nguyên lí làm việc
Quạt có thể làm việc theo hai cách:
Như vậy, khi làm việc theo nguyên tắc đẩy, miệng đẩy của quạt được lắp với ống thông gió. Khi làm việc theo nguyên tắc hút, miệng hút của quạt được nối với ống phân gió.
Chức năng
Gầu tải là thiết bị để vận chuyển hạt tơi rời lên cao. Độ cao chuyển tải có thể tới 70-80m, do đó gầu tải được dùng rộng rãi trong các kho bảo quản hạt.
Cấu tạo
Thiết bị bao gồm phễu cấp liệu 1 đặt cao hơn trục ngang của tang dưới, thân gầu tải 2 bằng tôn bọc kín hệ thống gầu tải, bộ phận chuyển động 3 (xích ống bạc con lăn hoặc đai dẹt), gầu 4 được chế tạo bằng tôn và lắp ghép vào bộ phận chuyển động bằng bulông, để dễ dàng tháo lắp khi sửa chữa, thay thế; động cơ điện 5, tang chủ động 6 (đĩa xích 7 hoặc bánh đai); cửa ra hạt 8, tang căng hoặc tang bị động 9, gối đỡ tang căng 10 và cơ cấu điều chỉnh 11.

Nguyên tắc làm việc
Hạt từ phễu cấp liệu đổ vào các gầu tải đang chuyển động lên trên. Khi gầu tải trên cùng, hạt đổ vào ống rót của cửa ra nhờ hợp lực R giữa trọng lực P và lực ly tâm F tác động lên hạt. Tốc độ chuyển động của gầu tải lựa chọn tùy thuộc vào phương pháp cung cấp hạt vào gầu.
Băng tải ngang là thiết bị vận tải thông dụng trong các kho bảo quản, đặc biệt là kho bảo quản hạt. Người ta thường dùng hai loại: loại có vị trí tháo cố định và loại có vị trí tháo di động.
Chức năng
Cả hai loại đều dùng để chuyển tải hạt vào kho và rót hạt vào các ô khác nhau, hoặc chuyển hạt từ kho ra ngoài.
Cấu tạo


1- Phễu cấp liệu; 2- Băng tải; 3- Con lăn; 4- Bộ phận tháo liệu; 5-Tang chủ động;
6- Động cơ điện; 7- Khung; 8- Tang bị động; 9- Xe tháo liệu
Nguyên lí hoạt động
Đối với băng tải có vị trí tháo hạt cố định, bộ phận tháo liệu lắp cố định. Hạt từ phễu cấp liệu đổ vào băng tải và được nó chuyển đổi vị trí tháo. Tại đây nhờ hợp lực của lực ly tâm và trọng lực, hạt được đổ vào máng bộ phận tháo; sau đã rơi vào nơi cần chứa.
Đối với băng tải thay đổi vị trí tháo, máy tháo có miệng tháo 1 bên. Hạt rơi vào máng tháo Nhờ hai tang quay làm thay đổi chiều băng. Toàn bộ hai tang quay và phễu tạo thành một khối di động trên khung của băng nhờ 4 bánh xe (gọi là xe tháo liệu). Nhờ vậy có thể thay đổi được vị trí tháo hạt trên suốt chiều dọc tháo hạt của băng. Phía dưới băng có các con lăn đỡ, giữ cho băng ổn định. Khoảng cách các trục lăn đỡ băng có tải là 0,9 – 1,8 m. Ở nhánh không tải khoảng cách này có thể ghép đôi.
Chức năng
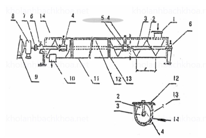
Vít tải ngang thường dùng vận chuyển hạt ở cự ly ngắn.
Cấu tạo
Cấu tạo vít tải gồm vít xoắn 2 quay trong ống bao 11, vít xoắn 2 được cấu tạo bởi cánh xoắn hàn trên trục 3 bằng thép ống. Khi vận chuyển ở khoảng cách lớn, vít xoắn được chia làm nhiều đoạn, mỗi đoạn 3 – 4m và nối với nhau bằng các mặt bích 5. Giữa hai đoạn được định vị bằng ổ treo 4. Trục vít quay Nhờ động cơ điện thông qua hộp giảm tốc.
Nguyên tắc làm việc
Hạt đổ vào phễu cấp liệu 1, hạt bị vít xoắn đẩy dọc theo ống bao 11 và thoát ra ở cửa 10. Khi hạt không thoát kịp qua cửa 10, hạt sẽ đẩy cửa tràn 14 thoát ra ngoài.

Sơ đồ vít tải
Chức năng
Băng tải nâng là loại thiết bị vận chuyển đơn giản dùng đưa vật liệu từ mặt đất lên xe, từ sân phơi hay từ xe vào kho… và có thể di động tới vị trí cần làm việc.
Băng tải được sử dụng để vận chuyển ngang hoặc nghiêng, năng suất cao và có thể vận chuyển khoảng cách xa tới vài cây số. Băng vừa là bộ phận mang vật liệu, vừa là bộ phận kéo (thường làm bằng vải tẩm cao su).
Cấu tạo
Kết cấu băng tải gồm: phễu cấp liệu 1, băng tải vải tẩm cao su 2, các con lăn đỡ 3, động cơ điện 4, khung 5, bánh xe 6 và cơ cấu điều chỉnh độ căng băng 7.

Chức năng
Máy dùng để xúc hạt trong kho, trên sân… vào một phương tiện khác vận chuyển rất tiện lợi.
Cấu tạo
Máy gồm ba bộ phận chính: xe di động 1, guồng tải nâng 2, guồng ngang 3 ở hai bên để cào vào guồng nâng ở giữa. Nhờ động cơ, guồng nâng chuyển động. động cơ có công suất 7 KW. Phía dưới guồng bố trí quạt 4 công suất 2,8 KW thổi không khí lên phía trên để tách các tạp chất nhẹ. Thiết bị di động nhờ động cơ có 1KW làm quay hai bánh xe 6 qua hộp giảm tốc trục vít có khớp ly hợp tự động.
Guồng cào 3 chuyển động nhờ động cơ thông qua bộ truyền bánh răng côn và xích. Nó có thể nâng lên hạ xuống.

Chức năng
Hiện nay máy chuyển khí động được sử dụng trong nhiều lĩnh vực: công nghiệp thực phẩm, xây dựng và các kho bảo quản để xuất nhập nhanh. Thiết bị này là vừa vận chuyển sản phẩm vừa có thể làm sạch sản phẩm.
Cấu tạo
Tùy theo công dụng khác nhau, máy có thể có cấu tạo khác nhau nhưng những bộ phận chung là phải có quạt, ống dẫn, cơ cấu chất tải vào hệ thống và cơ cấu tách không khí khỏi sản phẩm, cơ cấu đo và kiểm tra. Cụ thể như sau:
Trong Sơ đồ A vật liệu hút qua miệng hút 1 vào ống 2 sau đã qua xyclôn 3, hạt được tách qua cửa 5 còn không khí lẫn bụi được đưa vào bộ phận lọc 4, hút qua bơm chân không 6 và thổi ra ngoài môi trường.

Sơ đồ B không khí đi qua máy thổi 1, vật liệu từ bộ phận cung cấp 2 rơi vào ống gió 3. Hạt được tách ở xyclôn 4, rơi qua cửa 6; còn không khí tiếp tục qua bộ tách bụi 5 và phần tử lọc 7 thải ra ngoài môi trường.

Sơ đồ hỗn hợp (Sơ đồ C) là sự phối hợp của cả nguyên tắc hút và đẩy bao gồm: miệng hút 1, ống dẫn 2, bộ phận tách 3, cửa xả 4, 5, bé phận thổi 6 và cơ cấu thoát tải 7.

Nguyên lý hoạt động
Nguyên tắc chung của máy chuyển động khí được thiết lập trên cơ sở trộn vật liệu cần vận chuyển ở trạng thái lơ lửng với không khí và di chuyển nó trong ống, ở bộ phận tách (xyclôn), sản phẩm được tách khỏi không khí rơi xuống bộ phận thu. Không khí qua lọc thoát ra môi trường.