Bài viết dưới đay chúng tôi sẽ tìm hiểu nguyên tắc xây dựng kho, cấu tạo hoạt động của một số loại kho bảo quản nông sản.
Dung tích: Đủ để chứa lượng sản phẩm cần lưu trữ.
Địa hình: Xây trên địa hình cao ráo, không ngập úng, thoát nước tốt.
Hướng kho: Trục dọc theo hướng Đông – Tây để giảm tác động bức xạ mặt trời.
Kết cấu:
Trang thiết bị:
Theo loại nông sản:
Kho bảo quản hạt, củ, rau quả, sữa, thịt, cá, …
Theo mức độ cơ khí hóa:
Móng kho:
Sàn kho:
Tường kho:
Mái kho:
Cửa kho:
Đối với mỗi thể tích nhà kho nhất định, thể tích sử dụng cũng giảm do số loại sản phẩm lưu kho gia tăng, bị sâu bệnh, quản lý không tốt,…
Chăm sóc nông sản trong kho với những nội dung sau:
– Khi xây dựng, tấm sàn có bố trí nhiều lớp trong đó có lớp ngăn ẩm xâm nhập từ dưới đất lên bằng lớp nhựa bitum.
– Ngăn nước ẩm từ tường thấm vào nông sản: khối nông sản không được xếp tiếp xúc trực tiếp với tường mà cần có khoảng cách thích hợp.

– Xếp các bao đóng quy cách: điều này có nghĩa là phải bảo đảm sử dụng tối đa không gian kho, làm vệ sinh mặt sàn dễ dàng, kiểm tra nông sản, kiểm tra số lượng dễ dàng, tạo khoảng cách đó thông gió cho các bao.

– Phòng trừ chuột và sâu bệnh: phải bịt kín các lỗ nơi ẩn náu của chuột, bảo đảm kho sạch tuyệt đối, dọn và huỷ các phế phẩm bị nhiễm bệnh.

Tham khảo: Cách xếp bao như hình vẽ dưới, tránh cho bao bị đổ và làm cho việc kiểm kê kho dễ dàng.


Kho bảo quản hạt trong gia đình là đơn giản nhất (dân gian thường gọi là cót thóc). Hiện nay loại kho này còn rất ít vì quá đơn giản và không bảo đảm chất lượng bảo quản, khả năng chống chuột và sâu bọ thấp.
Kho dùng dữ trữ lương thực quốc gia hiện nay tồn tại dưới ba dạng: kho A1, kho A2 và kho cuốn.
Kết cấu:
Ưu điểm:
Nhược điểm:
Kết cấu, đặc điểm:
Ưu điểm:
Nhược điểm:
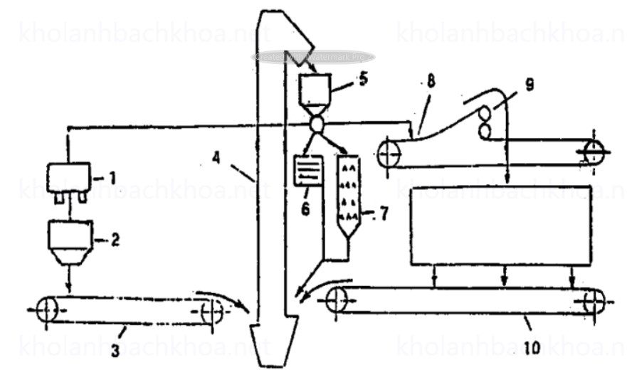
Kho cơ giới không có thiết bị sơ chế dùng đó bảo quản hạt.
Trong kho trang bị bộ phận vận chuyển kiểu gầu tải, đưa nguyên liệu từ dưới lên cao và đổ vào băng chuyền 4 đặt trên nóc, chạy suốt chiều dài kho. Trên từng đoạn băng tải có thiết bị gạt hạt xuống từng ô kho một. Hạt được lấy ra dưới đáy nghiêng cũng là một băng tải 1 chạy dọc kho.

1- Băng tải; 2- Ống thổi không khí; 3- Quạt;
4- Băng tải nhập; 5- Tấm chắn
Khối hạt trong kho theo từng giai đoạn được thông gió cưỡng bức khi cần thiết nhờ hệ thống ống thổi không khí 2 đặt trên mặt nền theo hướng ngang.
Ống phân phối khí bằng thép, phÍa trên bố’ trí lỗ. Trên miệng lỗ lắp tấm chắn 5 để hạt không rơi vào ống và không khí tràn ra hai bên. Hệ thống thổi không khí cưỡng bức vào ống gồm quạt cao áp 3.
Loại kho này có thể hoàn thành các quá trình cần thiết trong quá trình bảo quản:
Lưu ý: Dấu (’) hoặc (”) là ký hiệu hạt đi qua thiết bị đã lần 2 và lần 3.

1- Xe vận chuyển; 2- Thùng tiếp nhận; 3, 8- Băng tải; 4- Gầu tải; 5- Thùng phân phối;
6- Sàng làm sạch tạp chất; 7- Buồng sấy; 9- Cơ cấu tháo liệu; 10- Băng tải xuất
Kho silô thường được dùng để bảo quản hạt. Đây là phương pháp bảo quản hạt tiên tiến nhất hiện nay và hầu hết các nước phát triển đều sử dụng phương pháp này.
Cấu tạo kho gồm một số tháp hình trụ (silô) bằng thép hoặc bằng bê tông cốt thép, đáy dạng hình chóp. Hạt được đưa lên cao nhờ gầu tải 1 và phân phối xuống các silô bằng băng tải 2. Hạt được lấy ra ở đáy silô và vận chuyển bằng băng tải 5.
Trên từng silô, theo chiều cao có các ống dẫn không khí 4 thổi gió ngoài trời vào hạt nhằm điều chỉnh nhiệt độ và độ ẩm của khối hạt. Việc theo dõi được tự động hóa nhờ các cảm biến đặt trong silô ở các độ cao khác nhau của silô (5 – 7 m đặt một chiếc). Các tÍn hiệu nhận được qua bộ chuyển đổi đo, bé khuếch đại tới chỉ thị đo,…

1- Gầu tải; 2, 5- Băng tải; 3- Bộ phận tháo liệu; 4- Ống dẫn không khí; 6- silô
Trên thực tế có nhiều phương pháp tồn trữ rau quả tươi: vùi trong cát, để trong hầm, đựng trong bao kÍn,… những cách này chỉ tồn trữ tạm thời, chất lượng rau quả phụ thuộc nhiều vào khí hậu, thời tiết bên ngoài.
Kho tồn trữ trong điều kiện bình thường
Để tồn trữ rau quả ngắn ngày, người ta dùng kho thường nghĩa là không có lạnh hoặc bất cứ cách xử lý nào ngoài hệ thống thông gió.

1- Thông gió tự nhiên; 2- Thông gió cưỡng bức; 3- Thông gió tích cực
Kho lạnh bảo quản
Kho lạnh bảo quản ở đây cụ thể là kho mát chủ yếu đó tồn trữ rau quả tươi với nhiệt độ >5°C. Người ta cũng dùng kho mát đó bảo quản lúa lai F1. Tuy nhiên việc tồn trữ này cũng chỉ trong một thời gian vài tháng.
Kết cấu xây dựng kho lạnh có nhiều phương pháp khác nhau. Đối với kho lạnh 500 – 700 m2, người ta thường dùng các kết cấu nhẹ đó lắp ghép, đã là các kho lạnh lắp ghép lớn. Phần chịu lực thường là kết cấu thép hình. Tấm cách nhiệt xốp được tiêu chuẩn hoá theo dãy 1,8 m, 2 m, 2,2 m,…
Các kho lạnh thường có nhiều kích cỡ khác nhau. Dưới đây là sơ đồ kho lạnh tiền chế.

Phụ thuộc vào hệ số truyền ẩm của hơi nước, hơi nước sẽ bị ngăn lại tại các lớp bao phủ của vật liệu cách nhiệt. Quá trình truyền nhiệt là do có sự chênh lệch nhiệt độ bên trong và bên ngoài tường kho. Sự khuẾch tán hơi nước là do độ chênh áp suất hơi nước qua tường. Trong phòng lạnh thường áp suất hơi nước thấp, do đó hơi nước bên ngoài có xu hướng xâm nhập vào kho. Do đã vật liệu chống ẩm cần đạt các yêu cầu sau:
Thông thường người ta sử dụng vật liệu cách ẩm như: nhựa đường, bitum, dầu hoả, bôrulin, amiăng, perganin và giấy dầu.

Cách nhiệt cho mái nhằm giảm ảnh hưởng của nhiệt độ cao từ môi trường và bức xạ mặt trời xâm nhập vào kho. chiều dày lớp vữa 10 mm, lớp cách ẩm 2,5 – 3 mm. Hai lớp cách nhiệt cần bố trí so le, tránh cầu nhiệt. Lưới thép chống xâm nhập các loài gặm nhấm, vừa làm nền để chát vữa.

1- Vữa, xi măng, cát; 2- Gạch chịu lực; 3- Vữa;
4- Bitum cách ẩm; 5- Hai lớp cách nhiệt; 6- Lưới thép; 7- Vữa
Kho bảo quản kín nhằm ngăn xâm nhập ôxy.
Kho ngầm và nửa ngầm dưới mặt đất được sử dụng ở các vùng nhiệt đới: phÍa Nam châu Mỹ, châu Phi,
Ưu điểm của kho là rất kín, nhiệt độ bảo quản tương đối ổn định, ít chịu ảnh hưởng của môi trường bên ngoài. Tuy nhiên cũng có nhược điểm là rất khó khăn trong xử lý mạch nước ngầm.
Cần chú ý đến một số vấn đề sau: